本站 4 月 4 日消息,科技媒体 patentlyapple 今天(4 月 4 日)发布博文,报道称苹果公司获批一项新专利,涉及未来 Apple Pencil 的升级方向。
专利显示,新款 Apple Pencil 或支持动态调节笔尖的尺寸、形状、硬度等特性,以模拟不同书写工具(如钢笔、粉笔、画笔)的触感。本站附上相关图片如下:


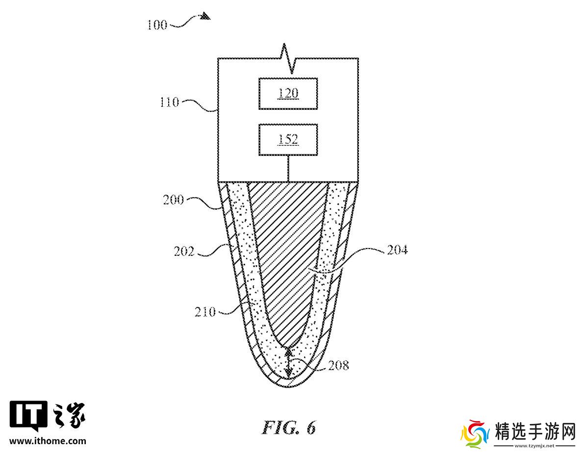
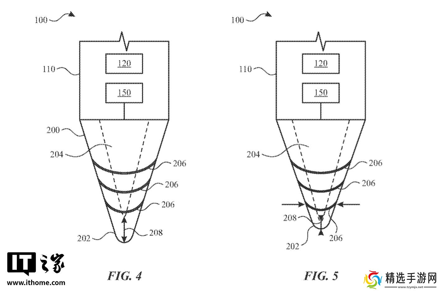
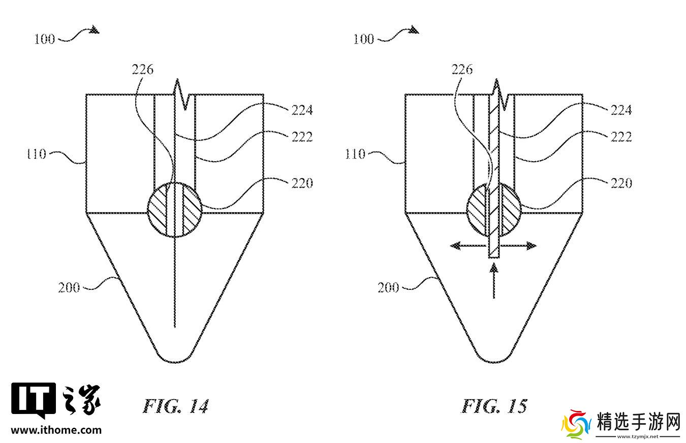
根据专利图 6,未来 Apple Pencil 的笔尖(#200)可能采用双层结构:刚性内芯(#204)包裹柔性外壳(#202),两者之间填充磁流变液(#210)。

内置电磁铁(#152)施加磁场后,液体的黏度会实时变化,让笔尖硬度在柔软和坚硬之间无缝切换。例如,强磁场下液体趋近固态,笔触更稳定;关闭磁场后笔尖恢复弹性,模拟画笔的柔软触感。专利还指出,磁场强度可精确控制外壳(#202)的形变范围,避免绘画时笔尖过度偏移。
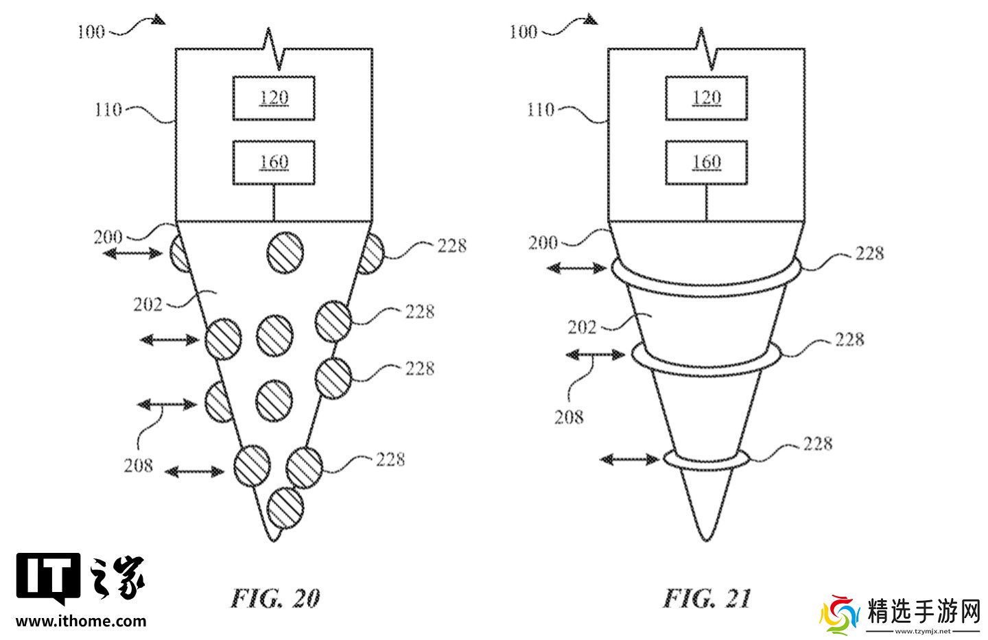
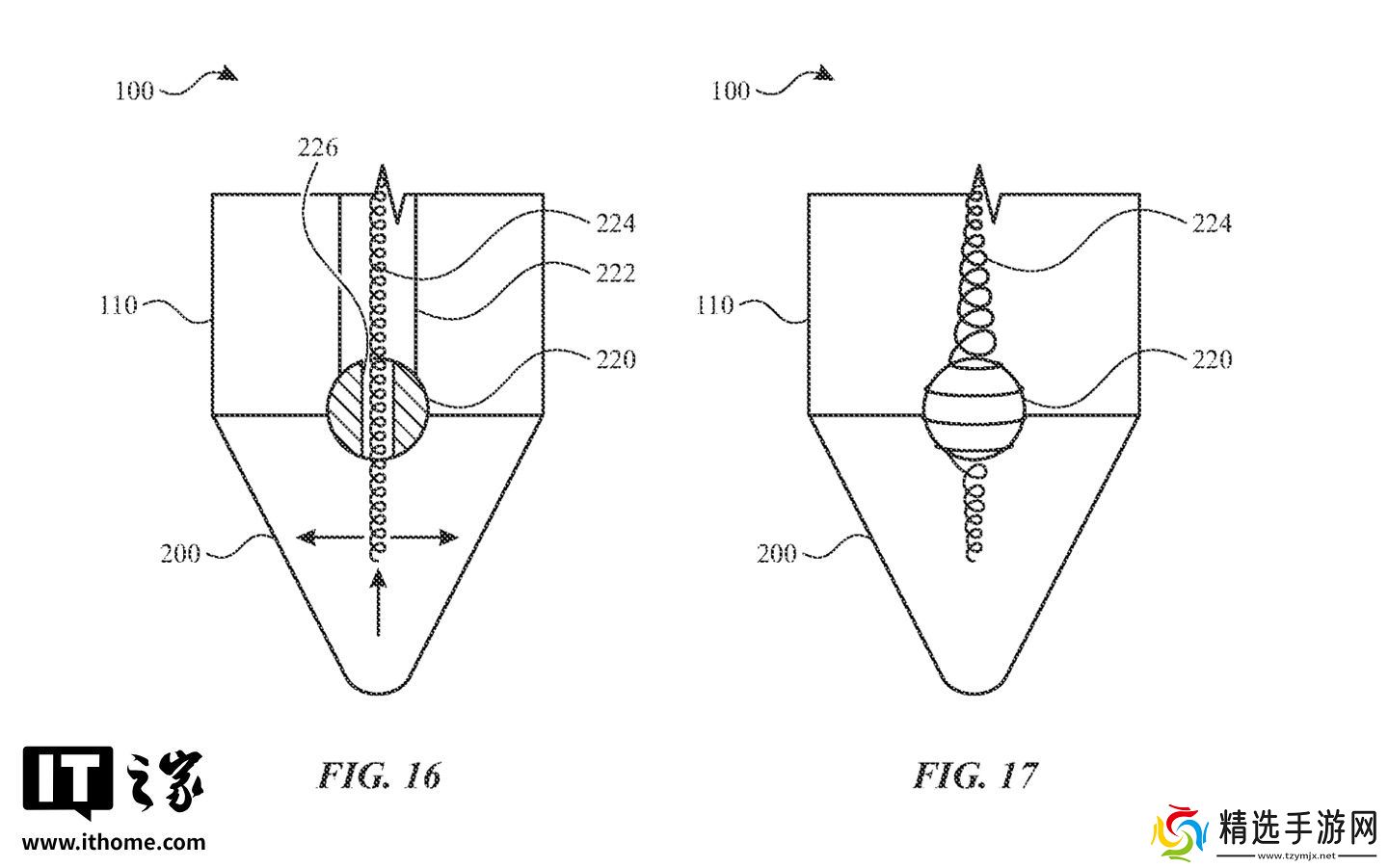
另一项创新设计是在笔尖加入可充气的“气垫”(#228,专利图 20)。通过调节气垫气压,用户能快速改变笔尖的粗细或硬度。

例如,低压状态适合细腻的素描线条,高压状态则模拟马克笔的钝头效果。气垫的弹性模量还可定制,以适应不同力度下的笔触反馈。苹果提到,这些调整可通过用户手动切换,或由 iPad 根据绘画软件参数自动匹配。






专利强调,未来 Apple Pencil 将更精准模拟传统工具特性,如粉笔的摩擦感、水彩笔的含水量效果等。笔尖的重心、转动惯量等物理参数也可调整,甚至能识别绘画表面(如画布、白板)的虚拟材质。部分功能可能依赖与 iPad 的联动,例如检测到用户选择“油画笔刷”时,笔尖自动变宽并增加阻尼。
