近期,网络上涌现出一系列关于白象食品的讨论,焦点集中在该公司多半袋面与多半桶面系列产品的包装上。消费者们注意到,包装上标注的“多半”字样被声明为注册商标,这引发了公众对于企业是否在宣传策略上运用文字游戏的质疑。面对这一波舆论浪潮,白象食品于6月4日正式发布声明,向广大消费者表达了歉意。
深入探究此事,据天眼查信息显示,白象食品股份有限公司早前已申请注册了包括“多半”、“多半袋”以及“多半桶”在内的多个商标。这一发现,让部分消费者认为企业在产品命名上存在误导消费者的嫌疑,进一步加剧了舆论的发酵。
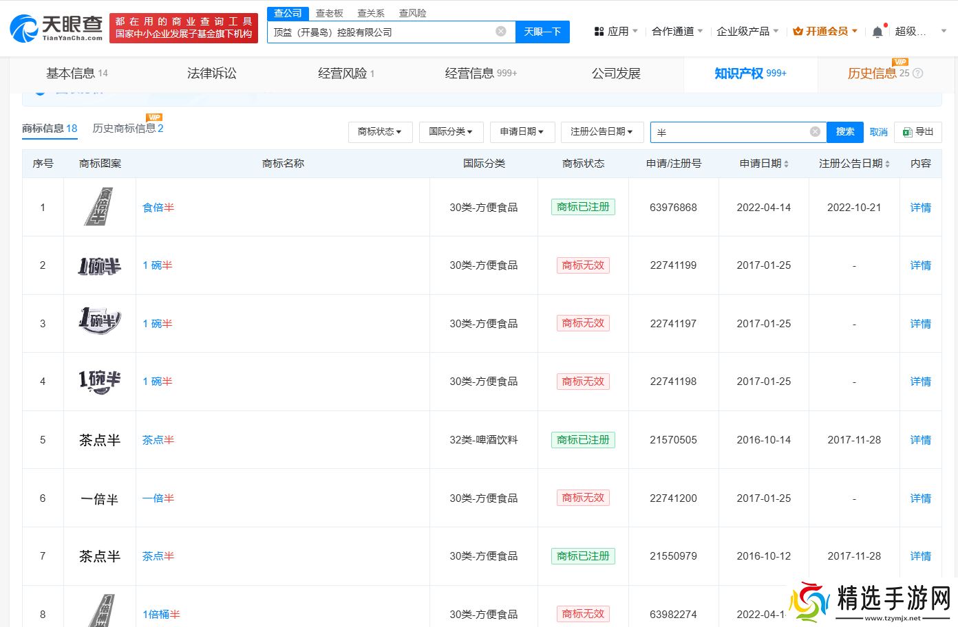
不仅白象,其他知名食品品牌也曾在商标注册上采取过类似策略。天眼查App的数据揭示,康师傅的关联公司顶益(开曼岛)控股有限公司,就曾申请注册了诸如“一倍半”、“1碗半”、“1倍袋半”以及“康师傅一倍半”等多个商标,但目前这些商标多数已处于无效状态。同样,今麦郎实业有限公司也曾尝试注册“一桶半”和“1袋半”等商标,不过这些尝试同样未能成功,现均显示为无效。

这些商标注册尝试的背后,或许是企业希望通过独特的命名来吸引消费者注意,提升产品辨识度。然而,当这些策略被公众质疑为可能误导消费者时,企业就需要重新审视其市场策略,确保在合法合规的前提下,维护消费者的权益和信任。

白象食品的此次道歉声明,无疑是对公众质疑的一次正面回应。虽然商标注册本身是企业行为,但如何在保证合法权益的同时,避免给消费者带来误解,是所有企业需要深思的问题。未来,随着市场竞争的日益激烈,如何在合法合规的前提下,通过创新策略赢得市场,将是企业面临的重要课题。

无论是白象食品还是其他企业,都需要在商标注册和市场策略上更加谨慎,确保在维护自身权益的同时,也尊重消费者的知情权和选择权。只有这样,才能在激烈的市场竞争中立于不败之地,赢得消费者的信任和支持。
