本站 3 月 12 日消息,科技媒体 patentlyapple 昨日(3 月 11 日)发布博文,报道称苹果公司获批一项头显相关专利,描述了一种分离式头显系统,意味着两名用户佩戴头显,可以共享画面内容。
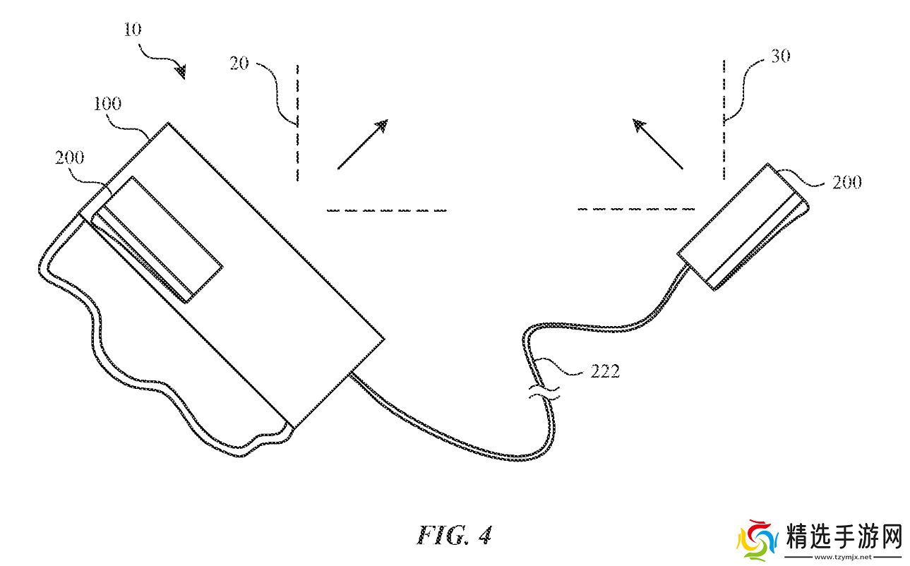
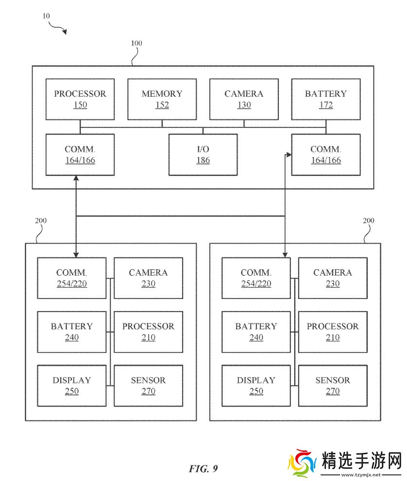
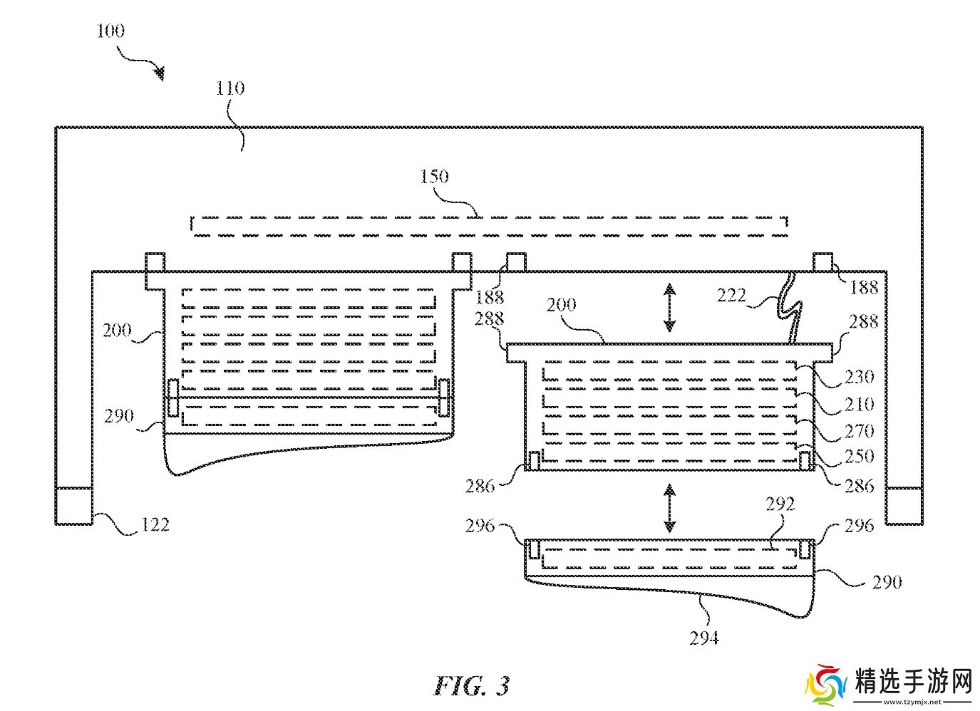
本站援引博文介绍,该专利的核心在于从头显中分离光学组件,并通过通信链路与设备保持连接。这种连接可以是直接的物理连接,也可以是无线连接。分离后的光学组件可由另一用户独立操作,同时仍能接收来自头戴设备的内容。





专利技术还涉及分配任务负载,部分内容可以在头显上生成后,传输到分离的光学组件上进行输出,这种方式减少了生成和适配内容的负担,同时允许不同用户通过各自的显示组件参与共享体验。
